Samsung Fold : Apple va-t-il aussi se lancer aussi dans les smartphones pliables ?
Vous le savez depuis hier, Samsung vient de dévoiler son nouveau Galaxy Fold, une espèce de téléphone-tablette pliable qui sera vendu 2000$ en avril aux Etats-Unis. Du côté de Cupertino, Apple vient de déposer un brevet qui peut faire penser à un futur smartphone à charnière. Qu’en-est-il ?
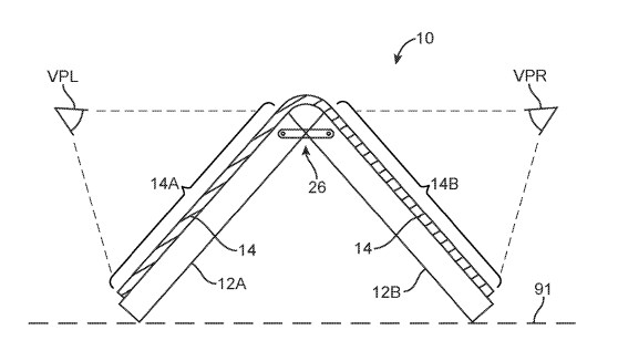
Le site néerlandais Let’s Go Digital s’est un peu penché sur le sujet en transformant les petits schémas, déposés par Apple, en modélisation 3D. Le résultat est assez aguichant. Si le sujet vous intéresse, vous pouvez toujours jeter un oeil sur le brevet déposé par la bande à Tim Cook sur le site du United States Patent and Trademark Office, c’est hyper complet et on voit qu’Apple a vraiment pris le temps pour ce boulot de fourmi.
Reste à voir si Apple transformera l’essai mais, contrairement à Samsung, Apple n’aurait pas à trop adapter son OS étant donnée que la surface et le ratio de l’écran resterait proche des iPhone actuellement sur le marché.
Enfin, toujours d’après ce brevet, la version d’Apple rendrait le téléphone pliable vers l’arrière afin de proposer un mode”tente” (sans les piquets et les tendeurs), comme on peut déjà le trouver chez Lenovo Yoga et HP X360, testé récemment chez nous.
Source : Let’s Go Digital.
Les bons plans du jour
Brosse à dents électrique Philips Sonicare série 3000
Ajouté le 11/03/2026
Lenovo IdeaPad Slim 3 - Intel Core i7, RAM 16Go, SSD 1To
Ajouté le 11/03/2026
NINJA Foodi FlexDrawer Air Fryer - Dual Zone 10.4L
Ajouté le 10/03/2026



